汽輪機調節閥設計的現狀
1 前言
汽輪機的啟停和功率的變化是通過調節閥開度的變化,從而改變進入汽輪機的蒸汽流量或蒸汽參數來實現的。作為汽輪機進汽機構的重要組成部分,調節閥氣動性能的好壞會對整個汽輪機機組的經濟性產生直接的影響。另外,調節閥中閥體的振動現象也存在于實際的運行中,類似閥桿振動、閥桿斷裂、閥座拔起等事故曾經發生1~2,直接影響了機組的安全工作。造成閥體振動的主要原因是調節閥內汽流流動的不穩定,而汽流流動的不穩定又與流動的邊界有密切的關系。不合理的流動邊界使流體的流動無法控制,流動中產生的擾動向外擴散和不斷增長,從而造成了汽流流動的不穩定。因此,無論是從經濟性的角度還是安全性的角度來考慮,研究和分析汽輪機調節閥的內部流場,優化其氣動性能,減小流動損失和穩定汽流,提高調節閥的流動效率和安全性,最終設計出汽動性能良好的調節閥無疑有重要的工程實際意義。
2 汽輪機調節閥設計的現狀
目前調節閥結構優化主要基于冷態單閥體對比試驗,獲得流量特性、卸載室特性、提升力和相對穩定性基本特性,從中挑選出較優的型線組合方案,提供定常條件下的設計依據。實際調節閥設計計算主要依據流動相似理論、流體力學的相關原理和冷態試驗數據來確定設計工況條件下幾個關鍵部位尺寸,比如調節閥配合直徑、閥座喉部和出口直徑。傳統設計方法比較簡單,對大部分定常流態的運行負荷仍是可靠的。
流動相似理論指出:動力相似需要模型和實物兩種流動在時空相似條件下各相似準則數都相等。與常規流體機械不同,汽輪機調節閥內產生非定常流動現象不僅隨機性強,而且極其微妙和敏感。運行現場很難準確捕獲發生流固耦合現象的根源所在,模化試驗又難于真實重現不穩定現象。正是這些原因,調節閥模化設計欠缺實測和試驗數據,更談不上掌握其內部流動規律,限制了相似理論的應用,例如Strouhal時間相似準數中參數的確定至今缺乏研究。也就是說調節閥發生流固耦合現象所涉及的非定常流動缺乏模化設計方法。顯然,從模型設計、加工、試驗到數據轉換到真實調節閥工作狀態的實物設計完成,整個過程不僅周期長花費大,而且存在不少的不確定性,改進調節閥設計方法是十分必要的。
3 調節閥設計的新思路
近年來,隨著計算流體力學和計算機技術的飛速發展,采用數值模擬手段對復雜流動問題進行研究成為可能。數值模擬手段不僅可以節約大量的人力和資金,最重要的特點是可以模擬和展現調節閥真實工作在高溫高壓狀態下時其內部流動參數的變化和分布規律,尤其對全負荷變化范圍都可以進行細節信息的獲取。盡管調節閥內的非定常流動數值模擬研究還達不到實際要求,但在設計前首先進行調節閥全工況范圍的三維真實工作參數和介質的數值模擬研究不僅彌補了試驗研究的短缺,更重要的是可提供試驗無法獲得的數據。如為設計人員提供全面完整的流場信息,從而為降低流動損失、改善閥門穩定性提供思路,并能預測調節閥運行實況。新的設計方法應該是先選出多種閥門型線組合方案,然后進行大量的數值模擬,從計算結果中獲得一定量指導性依據后,針對不同使用要求和配汽方式再進行內部流場結構的優化,以完善設計。模化試驗僅對典型工況和挑選的閥門型式進行。最終結合試驗和運行數據形成完整的設計方案,其設計流程如圖 1 所示。本思路對完善傳統設計方法不僅必要,而且完全可行,既可節省大量的試驗經費,又可使設計水平顯著提高。

圖 1 調節閥新設計思路的流程圖
基于上述思路,文中將介紹調節閥三維流場的數值計算方法,并且對某特定工況下的調節閥流場進行數值計算。在充分掌握閥門流動特性和細節流動信息的基礎上,對閥內流場進行初步優化。。
4 數值計算方法
4.1 幾何結構及湍流模型
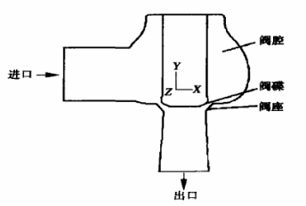
我們以廠家提供的型線閥為例,基本結構如圖 2 所示,其中三維坐標的X軸為汽流進口方向,Y軸為汽流出口的逆方向,右手定則確定Z軸方向。

圖 2 汽輪機調節閥結構示意圖
顯然,調節閥工作在高溫高壓蒸汽條件下,其流動為三維、可壓縮、粘性湍流流動。計算采用三維雷諾平均守恒型Navier-Stokes方程,湍流模型先后選用了Realizablek-ε模型和標準k-ε模型,經比較,兩者計算結果差別不明顯,最終選用較常用的標準k-ε湍流模型。采用二階差分格式離散方程,用 SIMPLE 算法求解控制方程。氣體狀態方程計算公式:
P=ρRTa(1+Bρ+Cρ2)
其中:P—汽體壓力;ρ—汽體密度;R—汽體常數;T—汽體溫度;B和C—系數。
4.2 計算網格和邊界條件
由于調節閥型腔結構復雜,采用分塊結構化網格,圖 3 給出了調節閥的三維計算網格示意。基于閥門結構的對稱性,計算時取其一半即可,網格單元數約為90萬。

圖 3 調節閥的三維計算網格
邊界條件按設計數據給定的參數,進口參數為:進口總壓P0和總溫T0,出口為靜壓P1。因調節閥外壁有保溫措施,所以壁面采用絕熱假定與實際有非常好的近似。對壁面附近的粘性支層的處理有兩種方法,即低Re模型和壁面函數法。壁面函數法采用半經驗公式來反映壁面對近壁區流動的影響,在工程湍流的計算中得到了較為廣泛的應用。壁面函數法又可分為兩種:標準壁面函數法和非平衡壁面函數法,本文采用標準壁面函數法。汽流進口考慮到電廠鍋爐管道經過長距離輸送的充分混合后均勻進入到汽輪機,因此,計算時調節閥進口邊界汽流參數認為是均勻的,同時只有沿管道的軸向速度Vin。進口湍流脈動動能Kin及耗散率εin參照管流經驗公式:
Kin=0.5%×V2in
εin=K3/2in 3/4Cμ/δ
式中:Cμ=0.09,δ—進口截面的當量半徑。
5 算例分析
據廠家提供的數據,的配合直徑D為125mm,閥進口總壓P0為8.820MPa,進口總溫 T0為 808K。定義相對升程 L=L/D,其中L為閥門的提升高度,D為閥門的配合直徑。壓比ε=P1/P0,P1為閥門的出口靜壓力。通過對此種型線閥在不同升程和不同壓比條件下進行大量的數值計算,能夠掌握閥門的整體流動特性。調節閥的流道結構主要分為3個部分:閥腔、閥碟下表面和閥座上表面組成的環行通道及閥座擴壓通道。汽流由進口流入閥腔的較大空間后,流速有所減小,在閥腔內汽流的氣動參數基本上不發生變化,但當汽流一進入閥碟和閥座構成的環行通道后,在極其短的行程中,蒸汽劇烈的膨脹,靜壓迅速降低,流速快速增大,尤其在中小升程。隨著汽流流入閥座擴壓段,其靜壓力又會緩慢的增加直至出口。數值計算不但能夠掌握調節閥的整體流動特點,更為重要的是它可以提供閥內流場的細節信息,從而使設計者能夠通過對流場結構的分析,找出流動不合理的問題所在,并適當地調整現有的閥碟或者閥座的型線,以達到改善閥門通流特性,降低損失,提高閥門穩定性的目的。就本文所選取的調節閥來講,當整個機組在額定工況下運行時,閥門的相對升程 L=28.8%,壓比 ε=0.95,在此工況下對調節閥流場進行數值計算,其Ma分布如圖 4 所示。

圖4 L=28.8%,ε=0.95 時中分面上的 Ma 等值線圖
整體而言,此工況下汽流的流速不高,Ma數較小,氣流的流動損失不大。但是在閥碟下方的局部區域內存在的低速氣流,在這一區域內Ma數很小,其值不足0.1,習慣上此區域被稱為空穴區。空穴區的形成是因為氣流以一定的角度流入閥座,如圖 5 所示。當加速汽流進入閥座時,會使閥碟下部與氣流脫離并在其下方形成一個空穴區。在粘性輸運的作用下,空穴里的氣體會不斷被其下游的氣流帶走,這種抽吸作用會使空穴內壓力下降,形成低壓區。當空穴內汽體壓力下降到一定程度時,它周圍的汽流就會滲入進來填補空穴,就這樣,空穴內的汽流一邊不停地被抽吸走,一邊又有汽流進來填補。這種抽吸行為是一種非穩態的流動,空穴中氣壓時刻在變化,這樣就會導致作用在閥碟下部的壓力也發生脈動變化,進而可能引起閥體振動。此外對于閥門的通流特性來說,空穴區也是“無用區”。

圖 5 空穴區形成的結構示意圖
為了有效地消除空穴區對閥門穩定流動的不利影響,首先我們對圖 4 所示工況的流場進行分析,最直接的想法就是用實體部分填充空穴區,為此我們在閥碟下方延長出一塊和空穴區的形狀大小近似相同的部分。改型后的結構如圖 6 所示。

圖 6 改型后的型線結構示意圖
對改型后的調節閥在與改型前完全相同的進出口條件下進行數值計算。其中分面上的Ma數分布如圖 7 所示。對比圖 4 和圖 7 可以發現,改型后的閥門整體上仍然維持低Ma數的流動特點,并且閥碟下方的汽流速度相應增加,同未改型前相比,Ma數由原來的最低0.05變到0.15以上,也就是說空穴區基本消失。另一方面改型前后兩閥門的通流量分別為 40.912kg/s 和 41.273kg/s,可見對閥門的改型也并未影響通流能力。為此我們認為改型方案是成功的。

圖 7 改型后調節閥中分面上的Ma數分布
以上我們用一個例子說明了本文所提出的新的調節閥設計思路中,通過數值計算來了解內部流場的細節,在此基礎上找到流場不合理的問題所在,并通過適當的調整閥門型線來優化內部流場結構,從而達到提高閥門氣動性能的目的,這也是本文所提出的新閥門設計思路中的核心部分。
6 結束語
在深入分析現有汽輪機調節閥設計方法的基礎上,提出了新的調節閥設計思路。在新的設計思路中引入數值計算的步驟,通過數值計算了解閥門內部的細節流動信息,找出流場不合理的問題所在,并通過適當的措施改善和優化內部流場結構,從而達到提高閥門氣動性能和增強汽流穩定性的目的。在此基礎上對典型工況進行模型試驗,最終完成閥門的設計。