氣控三通閥門的結構
氣控三通閥門的結構
三通閥門在化工、塑料、鑄造業中應用廣泛,過去大都是人工操作。隨著科學技術的發展,自動控制技術已廣泛應用于各個生產領域,氣控三通閥門就是在這種情況下誕生的。氣控三通閥門可以通過電一氣控制技術在生產過程中實現自動控制。
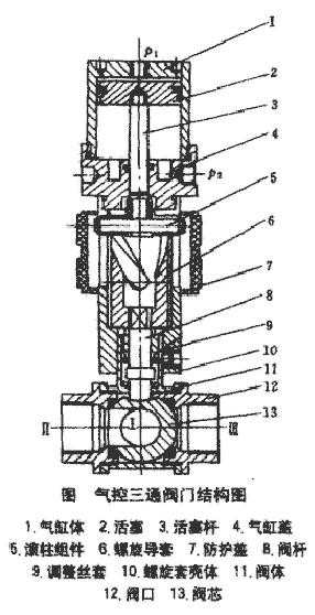
氣控三通閥門的結構如圖 1。

圖 1 氣控結構圖(1.氣缸體 2.活塞 3.活塞桿 4.氣缸蓋 5.滾柱組件 6.螺旋導套 7.防護蓋 8.閥桿 9.調整絲套 10.螺旋套殼體 11.閥體 12.閥口 13.閥芯)
氣控三通閥門的工作原理如下:
如圖 1,氣控三通閥門的結構氣控三通閥門由上、中、下 3 部分組成,上部為一雙作用氣缸,中部為一旋轉部組件,下部為一三通球閥。活塞 2 在氣缸上端時,Ⅰ腔與Ⅱ腔相通,當氣源從 P1 進入氣缸時,氣缸中活塞 2 在氣壓的作用下向下運動,活塞桿 3 帶動滾柱 5 沿螺旋導套殼體導向槽向下運動使螺旋導套 6 旋轉,當活塞 2 向下運動至氣缸下端時,螺旋導套旋轉 90°,螺旋導套帶動球閥閥桿 8 旋轉 90°,閥芯 13 旋轉 90°,這樣Ⅰ腔與Ⅱ腔隔離,Ⅰ腔與Ⅲ腔相通。
反之,當氣源從 P2 進入氣缸時,氣缸中活塞 2 在氣壓作用下向上運動,活塞桿 3 帶動滾柱 5 向上運動,使螺旋導套 6 旋轉,當活塞 2 向上運動至氣缸上端時,螺旋導套向反方向旋轉 90°,螺旋導套帶動球閥閥桿 8 反向旋轉 90°,閥芯 13 反向旋轉 90°,這樣Ⅰ腔與Ⅲ腔隔離,Ⅰ腔與Ⅱ腔相通。
氣控三通閥門可以通過氣動電磁換向閥控制 P1、P2 口的進出氣方向來控制。氣控三通閥門可以通過的介質為流體、氣液混合體及半流體。